Kulkulinowy zawór kulowy – żeliwna obudowa – 2-częściowy – pełny przelot – DN 32 do 200 – PN 16 – Cena za sztukę

(Przykładowa prezentacja)
Zakres stosowania
  • Kulkulinowy zawór kulowy doskonale nadaje się jako armatura odcinająca do stosowania z wodą, olejem, sprężonym powietrzem, paliwami oraz w próżni.
Opis
  • Obudowa zaworu kulowego jest wykonana z żeliwa, sama kula wykonana jest z mosiądzu chromowanego na twardo. Zawór jest wyposażony w uszczelnienia z PTFE i NBR.
  • Zawór kulowy posiada pełny przelot. Długość przyłączeniowa jest zgodna z normą DIN 3202-F4 (DIN EN 558-1, seria 14) lub DIN 3202-F5 (DIN EN 558-1, seria 15) dla DN 200.
  • Napęd można zamontować bezpośrednio na kołnierzu montażowym ISO 5211, aby zautomatyzować zawór kulowy.
Specyfikacja
  • Materiał obudowy – GGG40
  • Materiał kuli – mosiądz chromowany na twardo
  • Materiał uszczelnienia – PTFE/NBR
  • Zakres temperatur – -10 do +100 °C (gazy palne wg G 260: do maks. +60°C)
  • Zakres ciśnień – 0 do 16 bar (jako zamknięcie przewodu przy mediach innych niż woda 0 do 10 bar)
  • Media – woda, olej, sprężone powietrze, paliwa, gazy palne wg G 260 do 16 bar
  • Certyfikat DVGW dla gazu (G 260, MOP 16. EN 13774)
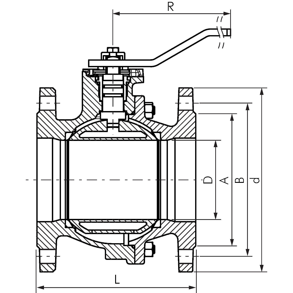
  • Średnica nominalna – 32 do 200 mm
  • Długość – 130 do 400 mm
  • A – 78 do 268 mm
  • B – 100 do 295 mm
  • d – 140 do 340 mm
  • D – 32 do 190 mm
  • R – 170 do 520 mm
  • ISO 5211 (kołnierz montażowy) – F04 do F12
  • Waga – 6 do 120 kg
Wykonań (9)
Ograniczyć wybór
Średnica nominalna
Długość obudowy
A
B
d
R
Anzeigen als lista Tabela
Nr art.: KHFL15821004
Wersja
Średnica nominalna32 mm
Długość obudowy130 mm
A78 mm
B100 mm
d140 mm
R170 mm
305,34
cena z podatkiem VAT
wysyłka gratis
Czas dostawy 2 - 4 dni robocze
Nr art.: KHFL15821005
Wersja
Średnica nominalna40 mm
Długość obudowy140 mm
A88 mm
B110 mm
d150 mm
R230 mm
Cena na zapytanie
cena z podatkiem VAT
plus koszty wysyłki
Czas dostawy 2 - 4 dni robocze
Nr art.: KHFL15821006
Wersja
Średnica nominalna50 mm
Długość obudowy150 mm
A102 mm
B125 mm
d165 mm
R230 mm
349,76
cena z podatkiem VAT
wysyłka gratis
Czas dostawy 2 - 4 dni robocze
Nr art.: KHFL15821007
Wersja
Średnica nominalna65 mm
Długość obudowy170 mm
A122 mm
B145 mm
d185 mm
R230 mm
430,31
cena z podatkiem VAT
wysyłka gratis
Czas dostawy 2 - 4 dni robocze
Nr art.: KHFL15821008
Wersja
Średnica nominalna80 mm
Długość obudowy180 mm
A138 mm
B160 mm
d200 mm
R280 mm
527,83
cena z podatkiem VAT
wysyłka gratis
Czas dostawy 2 - 4 dni robocze
Nr art.: KHFL15821000
Wersja
Średnica nominalna100 mm
Długość obudowy190 mm
A158 mm
B180 mm
d220 mm
R360 mm
695,17
cena z podatkiem VAT
wysyłka gratis
Czas dostawy 2 - 4 dni robocze
Nr art.: KHFL15821001
Wersja
Średnica nominalna125 mm
Długość obudowy200 mm
A188 mm
B210 mm
d250 mm
R520 mm
1.205,04
cena z podatkiem VAT
wysyłka gratis
Czas dostawy 2 - 4 dni robocze
Nr art.: KHFL15821002
Wersja
Średnica nominalna150 mm
Długość obudowy210 mm
A212 mm
B240 mm
d285 mm
R520 mm
1.264,69
cena z podatkiem VAT
plus koszty dostawy 146,37
Czas dostawy 2 - 4 dni robocze
Nr art.: KHFL15821003
Wersja
Średnica nominalna200 mm
Długość obudowy400 mm
A268 mm
B295 mm
d340 mm
R500 (rura 1000 mm)
3.461,71
cena z podatkiem VAT
plus koszty dostawy 146,37
Czas dostawy 2 - 4 dni robocze
Wyposażenie dodatkowe dla tego artykułu
Oceny


Brak ocen
Poszukiwane hasła : zawór kulowy, Zawory kulowe, Kulkulinowy zawór kulowy, Kulkulinowe zawory kulowe, Zawór odcinający, Zawory odcinające, Zawór, Zawory, Żeliwny zawór, Żeliwne zawory, Żeliwny zawór kulowy, Żeliwne zawory kulowe, pełny przelot